7 aprile 2025
Tribunale Torino 07/04/2025 [Brevetti per invenzione - Violazione di brevetto europeo - Ricorso cautelare - Descrizione del dispositivo - Interferenza brevettuale - Revoca del brevetto europeo per difetto di novità]
Brevetti per invenzione - Brevetti italiani e domande di brevetto europeo aventi ad oggetto rispettivamente un “Metodo e dispositivo di misura dell’errore di rettilineità di barre e tubi” e un “Metodo e apparato di misura dell’errore di rettilineità di corpi snelli, con compensazione della deformazione per gravità” - Sistema di misurazione denominato ReLine affiancato, e di fatto sostituito, dall’innovativo sistema denominato Q-Line - Violazione di brevetto europeo - Ricorso cautelare - Descrizione del dispositivo - Inibita l’ulteriore fabbricazione e commercializzazione di componenti e uso dei prodotti denominati Q-Line GC - Domanda di revoca dell'ordinanza cautelare - Fondatezza - Dispositivi in discussione non interferenti con il brevetto europeo - Revoca del brevetto europeo per difetto di novità - Cessazione della materia del contendere.
SENTENZA
n. 1197 pubbl. 07/04/2025
(Presidente relatore: dott.ssa Silvia Vitrò)
nella cause civili riunite di I Grado iscritte ai n. RG 22623/2021 e 1694/2022:
Parte_1 (...), con il patrocinio degli avv.ti MANARA STEFANO, SANGIACOMO FULVIA, MARINI FRANCESCA, TRECCANI FRANCESCA, DEL CORNO GIANCARLO
ATTRICE
contro
Controparte_1 (...), con il patrocinio degli avv.ti BUFFA MARCO, TREVISAN LUCA, AFFER GIULIA, CUONZO GABRIELE
CONVENUTA
Oggetto della causa: accertamento nullità brevetto, contraffazione brevetto
CONCLUSIONI
Per parte attrice Pt_1:
-Respinta ogni contraria domanda (ivi comprese l’eventuale domanda di conversione, ai sensi dell’articolo 76.3 c.p.i., in modello di utilità che dovesse essere proposta dalla convenuta Controparte_1 e le conseguenti domande riconvenzionali ad essa collegate, come pure qualsiasi domanda collegata al modello di utilità che dovesse essere concesso dall’Ufficio Italiano Brevetti e Marchi a seguito dell’istanza di trasformazione presentata, ai sensi dell’articolo 58.3 c.p.i., dalla convenuta [...] Controparte_1 in data 22luglio 2024;), istanza (anche di natura istruttoria) ed eccezione,
-Nel merito ed in via principale, preso atto della revoca del brevetto europeo n. 3.225.320 pronunciata dalla Commissione dei Ricorsi dell Controparte_2 in data 10 settembre 2024, dichiarare la cessazione della materia del contendere rispetto sia alle domande proposte dall’attrice Parte_1 di nullità della frazione italiana del brevetto europeo n. 3.225.320 di titolarità della convenuta e di accertamento della non contraffazione di detta frazione da parte del sistema di misurazione denominato “Q-Line GC” prodotto e commercializzato dall’attrice Parte_1 sia alla domanda riconvenzionale proposta dalla convenuta Controparte_1 di declaratoria di contraffazione di detta frazione italiana da parte dei dispositivi di misurazione denominati “Q-Line GC”, “ReLine 3D Plus” e “Q-Line FG”, prodotti e commercializzati dall’attrice Parte_1 ed alle altre conseguenti domande di inibitoria, ritiro dal mercato, pagamento di una penale, condanna ai danni e pubblicazione della sentenza;
e per l’effetto revocare l’ordinanza n. 11412/21 in data 28 dicembre 2021 del Tribunale di Milano, Sezione Specializzata in materia d’Impresa, resa nel procedimento cautelare di cui al numero di ruolo generale 111455/2021;
e per ulteriore effetto condannare conseguentemente la convenuta [...] Controparte_1 al risarcimento dei danni determinati dall’instaurazione del procedimento cautelare avanti il Tribunale di Milano - Sezione Specializzata in materia d’Impresa e dell’ottenimento dei richiesti provvedimenti, pronunciando con sentenza ai sensi dell’articolo 278 c.p.c. la condanna generica, imponendo il pagamento di una provvisionale nella misura che codesto On.le Tribunale vorrà liquidare in via equitativa tenuto conto dei criteri enunciati nella “II memoria ex art. 183 c.p.c.” di parte convenuta in data 12 settembre 2022 e disponendo con ordinanza la prosecuzione del giudizio per la liquidazione definitiva;
-Nel merito ed in via subordinata, accertare e dichiarare l’inammissibilità dell’eventuale domanda di conversione ai sensi dell’articolo 76.3 c.p.i. in modello di utilità che dovesse essere proposta dalla convenuta Controparte_1, e/o di ogni domanda fondata sul modello di utilità che dovesse essere concesso dall [...] Controparte_3 a seguito dell’istanza di trasformazione presentata, ai sensi dell’articolo 58.3 c.p.i., dalla convenuta Controparte_1 in data 22 luglio 2024;
-Nel merito ed in via di ulteriore subordine, nella denegata ipotesi di accoglimento dell’eventuale domanda di conversione ai sensi dell’articolo 76.3 c.p.i. in modello di utilità che dovesse essere proposta dalla convenuta Controparte_1, accertare e dichiarare la nullità di tale ipotetico modello di utilità per i motivi che saranno esposti nelle memorie conclusive, come pure dell’ipotetico modello di utilità che dovesse essere concesso dall’Controparte_3 a seguito dell’istanza di trasformazione presentata, ai sensi dell’articolo 58.3 c.p.i., dalla convenuta Controparte_1 in data 22 luglio 2024 per i motivi che saranno esposti nelle memorie conclusive;
-Accertare e dichiarare che la produzione, commercializzazione e pubblicizzazione da parte dell’attrice Parte_1 dei dispositivi di misurazione denominati “Q-Line GC”, “ReLine 3D Plus” e “Q-Line FG”, e di cui in atti non costituisce contraffazione dell’ipotetico modello di utilità che dovesse essere nel frattempo concesso a seguito della domanda di conversione ai sensi dell’articolo 76.3 c.p.i., proposta dalla convenuta Controparte_1 per i motivi che saranno esposti nelle memorie conclusive, come pure dell’ipotetico modello di utilità che dovesse essere nel frattempo concesso dall Controparte_3 a seguito dell’istanza di trasformazione presentata, ai sensi dell’articolo 58.3 c.p.i., dalla convenuta Controparte_1 in data 22 luglio 2024 per i motivi che saranno esposti nelle memorie conclusive;
-In ogni caso, spese (con inclusione delle spese delle diverse consulenze tecnico d’ufficio disposte nei differenti procedimenti) e compensi professionali rifusi, ivi compresi quelli relativi al procedimento cautelare conclusosi con l’ordinanza n. 11412/21 in data 28 dicembre 2021 del Tribunale di Milano, Sezione Specializzata in materia d’Impresa, resa nel procedimento cautelare di cui al numero di ruolo generale 11455/2021.
Per la parte convenuta:
-Nel merito in via principale:
1. rigettare nel migliore dei modi per Controparte_1 le domande svolte dalla società attrice, per tutti i motivi indicati in narrativa;
-Nel merito in via riconvenzionale:
2. accertare e dichiarare che la condotta di Parte_1 di cui in narrativa di fabbricazione, promozione, vendita e comunque commercio, esportazione, importazione, fornitura di apparecchi completi e loro componenti per il loro uso e uso di (i) apparecchi di misurazione della rettilineità di pezzi a forma di barra denominati Q-Line GC, (ii) apparecchi di misurazione della rettilineità di pezzi a forma di barra denominati Q-Line FG, (iii) apparecchi di misurazione della rettilineità di pezzi a forma di barra denominati ReLine 3D Plus, almeno nelle versioni commercializzate dall’Attrice dal 2018, nonché (iv) ogni altro apparecchio di misurazione della rettilineità di pezzi a forma di barra, comunque denominato, avente le medesime caratteristiche tecniche indicate in atti, costituisce violazione diretta e/o indiretta della porzione italiana del brevetto EP 3225320, oltre che concorrenza sleale ex art. 2598, nn. 1, 2, 3, c.c.; e per l’effetto
3. inibire Parte_1 e i suoi aventi causa da ogni forma di produzione (in qualsivoglia stadio produttivo e anche tramite e/o per conto e/o nell’interesse di terzi soggetti, anche ai sensi dell’art. 66, comma 2 bis, c.p.i.), vendita, commercializzazione, fornitura in qualunque forma per l’uso e uso, pubblicizzazione, promozione anche mediante sito internet, distribuzione, importazione, esportazione, immagazzinamento e/o offerta in vendita in qualsiasi forma, maniera e/o fase (incluso l’invio di offerte e la raccolta di preordini, prenotazioni o ordini o il compimento di qualsiasi atto preparatorio di vendita) sia direttamente che indirettamente, tramite i propri agenti, dipendenti, impiegati, funzionari, affiliati o altri soggetti controllati dall’Attrice, o ogni altra forma di utilizzazione economica dei prodotti di cui sopra, con qualunque denominazione essi siano promossi, venduti e/o commercializzati, nonché ogni altro prodotto avente caratteristiche equivalenti, che violi la porzione italiana di EP 3225320;
4. ordinare all’Attrice di ritirare dal mercato e richiamare i prodotti di cui sopra, nonché qualunque altro prodotto o componente dello stesso, comunque denominato e/o contrassegnato, che violi la porzione italiana di EP 3225320, già immesso nei canali distributivi e stoccato presso distributori e rivenditori e di richiedere ai propri distributori di richiamare tali prodotti;
5. porre a carico dell’Attrice il pagamento a favore di Contro di una penale non inferiore a Euro 25.000 per prodotto promosso, pubblicizzato, distribuito, commercializzato e/o offerto in qualsiasi altra forma sul mercato, sia direttamente che indirettamente, tramite i propri agenti, dipendenti, impiegati, funzionari, affiliati o altri soggetti controllati dall’Attrice, in violazione del provvedimento inibitorio e, in ogni caso, una penale non inferiore a Euro 25.000 per ogni giorno di ritardo nell’attuazione dell’inibitoria;
6. condannare l’Attrice al risarcimento di tutti i danni patiti e patiendi da Contro per effetto degli illeciti di cui in narrativa, sia quale danno emergente sia quale lucro cessante, da determinarsi nel corso del presente procedimento, con sentenza sull’an e ordinanza di prosecuzione del giudizio sul quantum, anche in via equitativa sulla base delle risultanze del processo e delle presunzioni che ne derivano, tenendo conto di tutti gli aspetti pertinenti, anche di natura non economica, come il danno morale, la perdita di guadagno, la price erosion e le vendite trainate, con condanna dell’Attrice alla restituzione dei profitti realizzati nella misura in cui eccedano il danno subito, come previsto e nelle modalità dell’art. 125 c.p.i., di cui si chiede integrale applicazione;
7. ordinare la pubblicazione della sentenza, a spese dell’Attrice e a cura di Contro, per due volte consecutive, a caratteri doppi del normale, su “La Repubblica”, “Il Corriere della Sera” e “il Sole 24 Ore” e su tre riviste di categoria che si indicheranno in corso di causa;
-Con le richieste istruttorie di cui alla seconda memoria ex art. 183, dando atto che il titolo fatto valere è da considerarsi quello del brevetto europeo porzione italiana trasformato in modello di utilità, fatto salvo l’esito dell’impugnazione straordinaria alla Commissione ampliata dei ricorsi.
-Con vittoria di spese, diritti e onorari, oltre IVA e CPA ove dovuti, anche per il procedimento cautelare ante causam sub RG 11455/2021, Tribunale di Milano
MOTIVI DELLA DECISIONE
1) Con atto di citazione del 16/11/2021 la Parte_1 ha convenuto in giudizio la società Controparte_1 affermando:
-che Parte_1 nasce nel 2002 come società di consulenza nei settori dell’ottica e dell’optoelettronica e ha sviluppato negli anni soluzioni innovative per le attività di misurazione e controllo dimensionale di varie tipologie di materiali;
-che è titolare di varie privative brevettuali, tra cui i brevetti italiani n. 1429837 e n. 102017000122452 e le corrispondenti domande di brevetto europeo n. 16169727.1 e n. 18804706.2, aventi ad oggetto rispettivamente un “Metodo e dispositivo di misura dell’errore di rettilineità di barre e tubi” e un “Metodo e apparato di misura dell’errore di rettilineità di corpi snelli, con compensazione della deformazione per gravità”;
-che tra i prodotti Q-Tech rientrava un sistema di misurazione denominato ReLine, destinato ad essere implementato negli impianti di produzione di barre in metallo, e che il sistema ReLine comprendeva le serie ReLine2D, ReLine3d e ReLine3DPlus, caratterizzate da prestazioni di misura e funzioni di controllo della rettilineità delle barre con ordine crescente di complessità;
-che più recentemente il sistema ReLine è stato affiancato, e di fatto sostituito, dall’innovativo sistema denominato Q-Line nelle versioni FG e GC, al fine di misurare in modo estremamente preciso e direttamente in linea di produzione l’errore di rettilineità di ogni barra prodotta dall’impianto, separando in tempo reale le barre conformi da quelle difettose;
-che tale nuovo sistema Q-Line è protetto, tra gli altri, dalla citata domanda di brevetto europeo EP’727, depositata il 13/5/2016 su priorità italiana del 15/5/2015, concessa come IT’837;
-che la società tedesca CP_1, con missiva 9/12/2020, premesso di essere titolare del brevetto europeo EP 3225320, depositato il 3/4/2027 e concesso il 15/7/2020, aveva chiesto chiarimenti sulla struttura e il funzionamento del sistema ReLine3DPlus, sostenendo che due delle funzioni di tale sistema (la compensazione del rilevamento della gravità e misurazione della rettilineità della barra indipendentemente dal suo posizionamento) erano ottenibili solo con le modalità rivendicate dal proprio brevetto EP’320;
-che, dopo le proteste di Pt_1 e scambi di missive, Contro aveva adito con ricorso cautelare il Tribunale di Milano, che questo, con decreto 23/3/2021 aveva autorizzato la descrizione del dispositivo ReLine3DPlus, al fine di determinare l’esatta configurazione del suo sistema di controllo, con specifico riferimento all’individuazione del dispositivo in esso compreso quanto ai mezzi utilizzati per dare luogo alla compensazione del rilevamento della gravità e alla misurazione della rettilineità indipendentemente dal posizionamento della barra;
-che in sede di descrizione il CTU ing. Persona_1 aveva proceduto anche alla descrizione del diverso sistema denominato Q-Line;
-che Pt_1 aveva contestato la natura esplorativa del ricorso avversario e aveva riferito anche di aver depositato in data 15/4/2021 davanti all Contr la domanda di opposizione avverso la concessione del brevetto Contr 20;
-che era stata disposta CTU nel procedimento cautelare per accertare la validità di CP_6 e l’eventuale interferenza da parte dei sistemi ReLine3DPu e Q-Line, che la relazione era stata depositata il 15/10/2021 e che con ordinanza del 29/12/2021 il Tribunale di Milano aveva inibito a Pt_1 l’ulteriore fabbricazione e commercializzazione di componenti e uso dei prodotti denominati Q-Line GC, nonché di ogni altro prodotto comunque denominato interferente con il contenuto della rivendicazione 1 di CP_6
-che il provvedimento non era stato reclamato.
A questo punto l’attrice Parte_1 ha affermato:
-che il brevetto di Contro EP’320, la cui domanda è stata depositata il 3/4/2017, che è stato concesso il 15/7/2020 e che rivendica la priorità della domanda di brevetto tedesco n. DE 102016003772 depositata il 2/4/2016, è affetto da nullità;
-che in particolare, EP’320 riguarda un dispositivo e un metodo per misurare la rettilineità di un pezzo a forma di barra e comprende due rivendicazioni indipendenti, 1 e 11, relative appunto a un dispositivo e a un metodo, e rivendicazioni dipendenti, 2-10 e 12-15, che tutelano forme di realizzazione preferite o vantaggiose e comprendenti caratteristiche opzionali;
-che, in dettaglio, l’insegnamento tecnico di CP_6 risiede nel creare un appoggio per un pezzo a forma di barra, in cui possono essere rilevate le influenze del peso proprio del pezzo a forma di barra e le forze esterne, e nel considerare le forze esercitate dal pezzo a forma di barra sull’appoggio per migliorare la misurazione della rettilineità, riducendo la falsificazione della misura dovuta alle forze esistenti che agiscono dall’esterno sul pezzo a forma di barra, in particolare considerando le sollecitazioni meccaniche del pezzo dovute all’appoggio, che possono portare a una “deformazione” del pezzo a forma di barra e includendo i loro effetti sulla rettilineità;
-che EP’320 è nullo per insufficiente descrizione, perché, rispetto alla priorità DE’772 A1, le rivendicazioni indipendenti non sono congruenti con la descrizione, perché non viene descritta la forma realizzata con tutte le superfici di appoggio fisse, né viene spiegata la presenza di un solo sensore di forza accoppiato a un’unica superficie di appoggio, né la necessità dell’apparecchio ottico e dell’apparecchio di scansione meccanica e dell’acquisizione di una immagine tridimensionale del pezzo a forma di barra;
-che EP’320 è nullo per carenza di novità, considerato che il corrispondente brevetto statunitense US 10371517 B2 di Contro è stato concesso in forma differente e più limitata di EP’320, sulla base degli stessi documenti di arte nota agli atti della procedura europea, e considerato, altresì, che la soluzione di EP’320 è anticipata da brevetti che prevedono tutti l’uso di sensori (EP 0935120 A2, WO 2017/168324 A1), come esposto nell’ambito della procedura di opposizione davanti all’EPO);
-che vi è anche carenza di attività inventiva, alla luce di ulteriori documenti di tecnica nota (come US 2009/0031824 A1, US 2009/0031824 A1, EP 2803942)
-che il Tribunale di Torino è competente, considerata l’elezione di domicilio brevettuale e l’autonomia rispetto al precedente procedimento cautelare presso il Tribunale di Milano;
-che viene chiesto l’accertamento della nullità della porzione italiana del brevetto CP_6, oltre alla pubblicazione della sentenza su quotidiani.
La convenuta CP_1, costituitasi con comparsa del 31/1/2022, ha contestato le domande attoree, affermando:
-di proporre nel presente giudizio la domanda riconvenzionale di contraffazione nei termini indicati nell’ordinanza cautelare di inibitoria del Tribunale di Milano, in modo da poter beneficiare delle risultanze probatorie del processo milanese (in tal modo accettando la competenza del Tribunale di Torino);
-che il brevetto CP_6 è valido, essendo gli argomenti utilizzati dalla parte Pt_1 gli stessi già discussi nel procedimento milanese e nell’ambito della opposizione presentata davanti all’Epo (e rigettati dal parere preliminare emesso dalla Divisione di Opposizione in data 17/1/2022);
-che, in particolare, circa l’eccepita insufficienza di descrizione, in realtà l’esperto del ramo è pacificamente in grado di porre in essere il procedimento di misura della rettilineità descritto e rivendicato in EP’320;
-che il CTU ing. Per_1 nella relazione depositata nel procedimento cautelare milanese, dopo aver esaminato le anteriorità citate dalla Pt_1 ha accertato la sussistenza dei requisiti di novità e attività inventiva;
-che, circa i prodotti Q-Tech, nel corso della descrizione giudiziaria nel procedimento milanese la Pt_1 ha affermato di realizzare e offrire in vendita due sistemi di misura della rettilineità della barra:
.un primo sistema asseritamente comprendente supporti basculanti di tipo meccanico per l’appoggio della barra; e
.un secondo sistema (il solo che la stessa Pt_1 abbia consentito potersi visionare durante la descrizione) comprendente supporti per l’appoggio della barra dotati di rulli e celle di carico;
-che nel corso della descrizione i tecnici di Pt_1 hanno dichiarato che alla prima tipologia di sistema apparterrebbero il dispositivo denominato ReLine 3D Plus (definito “obsoleto” dall’Ing. CP_7 di Pt_1 e la versione “FG” del dispositivo denominato Q-line, mentre alla seconda tipologia di sistema apparterrebbe la sola versione “GC” del dispositivo denominato Q-line, versione che, nel tentativo di sottrarla alla descrizione, la stessa Q-Tech aveva definito “sperimentale”;
-che, in sostanza, quindi, Pt_1 ha affermato di avere prodotto nel tempo le seguenti versioni di sistemi per misurare la rettilineità di un pezzo a forma di barra:
.ReLine 3D Plus, definito da Pt_1 come obsoleto, e che userebbe un sistema di sensori di tipo meccanico basculante;
.Q-Line FG, che utilizzerebbe anch’esso un sistema di sensori di tipo meccanico basculante;
.Q-Line GC, che Pt_1 ha dichiarato essere un prototipo in fase di studio, e che senz’altro prevede l’utilizzo di celle di carico per rilevare la forza esercitata sui supporti dal pezzo a forma di barra da misurare;
-che, però, dalla brochure che fornita durante la descrizione, entrambi i sistemi Q-Line FG e Q-Line GC sono definiti come dotati di una “tecnologia rivoluzionaria per compensazione automatica della flessione della barra causata dalla gravità”;
-che, inoltre, appare che nel tempo si siano succedute diverse versioni del dispositivo denominato ReLine3DPlus: in particolare, mentre tra il 2016 e il 2017 veniva commercializzata una versione del ReLine 3D Plus priva di supporti, a partire almeno dal 2018 Pt_1 ha iniziato ad offrire sul mercato una versione del ReLine 3D Plus dotata di rulli conici di appoggio per la barra, come visibile nell’immagine tratta dalla brochure visibile all’indirizzo web https://sarmesicabluri.ro/en/catalog-ejp/;
-che questa versione del prodotto ReLine 3D Plus appare essere quella che la stessa Pt_1 ha annunciato al pubblico anche attraverso i propri canali social quando ha dichiarato che un nuovo sistema ReLine 3D Plus sarebbe stato esposto come novità alla fiera Düsseldorf Wire Exhibition tenutasi ad aprile 2018;
-che la versione di ReLine 3D Plus esposta alla fiera di Düsseldorf dell’aprile 2018 non corrisponde al sistema che Pt_1 risulta avere prodotto e commercializzato a partire dal 2016 e che ora dichiara “obsoleto” (e che è l’unica versione del ReLine 3D Plus di cui Pt_1 pare avere dato conto nel corso della descrizione), ma si tratta invece di un sistema dotato di rulli conici di supporto in linea per la barra, analogamente al sistema Q-Line, il quale è stato ritenuto in contraffazione di Con Cont dal CTU e dal giudice milanese;
-che, pertanto, la Contro svolge domanda riconvenzionale volta ad accertare e dichiarare la contraffazione della porzione italiana di EP ‘320 da parte (i) dei prodotti Q-Tech denominati Q-Line GC, (ii) dei prodotti Q-Tech denominati Q-Line FG, (iii) delle versioni del prodotto ReLine 3D Plus, almeno quelle commercializzate dal 2018;
- (iv) nonché di ogni altro prodotto, comunque denominato, avente caratteristiche interferenti con l’ambito di protezione di EP ‘320;
-che il comportamento di Pt_1 integra anche un illecito concorrenziale sotto più profili;
-che viene chiesto l’accertamento della contraffazione e della concorrenza sleale, i provvedimenti di inibitoria, ritiro dal mercato, applicazione penale, ed inoltre viene chiesta la condotta della Pt_1 al risarcimento dei danni subiti da Contro (sia danno emergente che lucro cessante, anche mediante retroversione degli utili).
Alla prima udienza, 30/3/2022, la Pt_1 ha dichiarato di proporre, sotto forma di reconventio reconventionis (a fronte della proposizione da parte di Contro di domanda riconvenzionale di contraffazione così da poter beneficiare dell’ordinanza cautelare milanese), domanda di revoca del provvedimento cautelare emesso dal Trib. Milano, 29/12/2021 RG11455/21, e di conseguente condanna della convenuta Contro al risarcimento dei danni determinati dalla instaurazione del predetto procedimento cautelare e dall’ottenimento dei predetti provvedimenti.
Alla stessa udienza, il giudice ha disposto la riunione al presente procedimento di quello n. 1694/22 RG, pendente tra le medesime parti e introdotto da Pt_1 in data 21/1/2022 per l’accertamento e la declaratoria della non contraffazione di CP_6 da parte dei prodotti Pt_1
2) La relazione tecnica del CTU
Al CTU nominato nel presente procedimento, ing. Persona_2 è stato sottoposto il seguente quesito (formulato con ordinanza 14/2/2023):
.” 1) Accerti se la porzione italiana del brevetto EP3225320 oggetto di causa sia dotata dei requisiti di validità della sufficiente descrizione, novità e altezza inventiva;
2) Accerti se i dispositivi di Q-Tech denominati Q-Line GC, Q-Line FG e ReLine 3D Plus (questi ultimi nelle versioni commercializzate da Pt_1 dal 2018), interferiscano o meno con l’ambito di protezione della porzione italiana di EP3225320, anche tenendo conto di ogni elemento equivalente ad un elemento individuato nelle rivendicazioni”.
Il CTU, nella relazione tecnica depositata in data 22/6-26/9/2023, ha rilevato quanto segue.
Il brevetto europeo EP 320 è stato concesso il 15/07/2020 a seguito di una domanda depositata il 03/04/2017 e rivendicante la priorità della domanda di brevetto tedesca DE 102016003772 del 02/04/2016. La traduzione in lingua italiana del brevetto europeo in questione è stata depositata presso l Controparte_3 il 24/09/2020 con il n. 502020000090688.
Il brevetto EP’320 riguarda un dispositivo e un procedimento per misurare la rettilineità di un pezzo a forma di barra.
Il brevetto in causa indica che una delle soluzioni note per misurare la rettilineità di un pezzo a forma di barra consiste nel disporre il pezzo su degli appoggi ed effettuare un test ottico senza contatto (DE 10 2011 119 658 B4).
Il brevetto in questione indica che tali dispositivi di misura della rettilineità non tengono conto del fatto che quando il pezzo viene disposto su degli appoggi le forze esercitate dal pezzo da misurare sugli appoggi possono portare ad una falsificazione del risultato della misura.
Per risolvere questo problema tecnico, il brevetto in questione propone un dispositivo e un procedimento per misurare la rettilineità di un pezzo a forma di barra in cui almeno un sensore di forza è accoppiato a una superficie di appoggio per determinare una forza esercitata dal pezzo a forma di barra sulla superficie di appoggio in una direzione essenzialmente trasversale alla direzione dell’accelerazione di gravità.
Il brevetto in questione ha due rivendicazioni indipendenti: la rivendicazione 1 di dispositivo e la rivendicazione 11 di procedimento. Le rivendicazioni indipendenti del brevetto in causa, suddivise in paragrafi, sono del seguente tenore:
Rivendicazione 1:
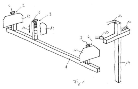
a) Dispositivo per misurare la rettilineità di un pezzo a forma di barra con un appoggio per il pezzo a forma di barra, e b) un apparecchio per il rilevamento ottico e/o la scansione meccanica del pezzo a forma di barra, caratterizzato dal fatto che
c) l’appoggio presenta più sezioni (2, 3, 4), rispettivamente con una superficie di appoggio (5, 6, 7),
d) in cui è previsto almeno un sensore di forza (8, 9)
e) accoppiato a una superficie di appoggio (5, 6, 7)
f) per determinare una forza esercitata dal pezzo a forma di barra sulla superficie di appoggio (5, 6, 7)
g) in una direzione essenzialmente trasversale alla direzione dell’accelerazione di gravità.
Rivendicazione 11:
a’) Metodo per misurare la rettilineità di un pezzo a forma di barra, b’) in cui il pezzo viene poggiato su un appoggio con più sezioni rispettivamente con una superficie di appoggio (5, 6, 7),
c’) e il pezzo viene rilevato otticamente e/o scansionato meccanicamente, caratterizzato dal fatto che
d’) la forza esercitata dal pezzo a forma di barra sulla superficie di appoggio (5, 6, 7) viene misurata
e’) mediante un sensore di forza (8)
f’) in una direzione essenzialmente trasversale alla direzione dell’accelerazione di gravità
g’) accoppiato a una superficie di appoggio (5, 6, 7).

Il brevetto in questione ha inoltre rivendicazioni dipendenti di dispositivo 2-10 che dipendono dalla rivendicazione 1 e rivendicazioni dipendenti di procedimento 12-15 che dipendono dalla rivendicazione 11.
Il CTU rileva che il brevetto europeo EP’320 è stato oggetto di una procedura di opposizione di fronte all’CP_3 Controparte_2 avviata dalla Pt_1 nel corso della quale si chiedeva la revoca del brevetto in questione per insufficienza di descrizione, mancanza di novità e mancanza di attività inventiva, e che la procedura di opposizione si è conclusa il 21.12.2022 con il rigetto dell’opposizione e il mantenimento del brevetto nella forma nella quale esso è stato rilasciato.
La Pt_1 ha inoltrato un appello nei confronti della decisione dell Controparte_2 [...] che ha rigettato l’opposizione.
La validità del brevetto in causa e l’interferenza dei dispositivi Q-Tech sono state discusse fra le stesse parti in un procedimento di fronte al Tribunale di Milano, Dott. Claudio Marangoni, n. R.G. 11455/2021. Agli atti è presente una relazione peritale dell’Ing. Persona_1 nominato quale CTU in tale procedimento
A questo punto il CTU rileva (pag. 5 e ss.):
-che lo scrivente trova una corrispondenza fra le rivendicazioni indipendenti di CP_6 e il suo documento di priorità (DE 102016003772 A1, priorità del 2/4/2016); pertanto, una persona esperta può derivare le rivendicazioni di Contr 20 direttamente e senza ambiguità dalla domanda di priorità, per cui la priorità di CP_6 è validamente rivendicata;
-circa l’eccezione di insufficienza di descrizione, che a suo parere, una persona esperta del settore sulla base delle proprie conoscenze e delle ordinarie conoscenze del settore non avrebbe avuto nessuna difficoltà a realizzare un dispositivo per misurare la rettilineità di un pezzo a forma di barra provvisto di un sensore di forza accoppiato a una superficie di appoggio per determinare una forza esercitata dal pezzo a forma di barra sulla superficie di appoggio in una direzione essenzialmente trasversale alla direzione dell’accelerazione di gravità; che in effetti, qualunque persona esperta del settore è assolutamente capace di prevedere un sensore di forza accoppiato ad una superficie per determinare una forza applicata su tale superficie; che alla stessa conclusione sono giunti la Divisione di Opposizione dell Controparte_2 nella decisione con la quale ha rigettato l’opposizione della Pt_1 contro CP_6 e l’Ing. Per_1 nella CTU relativa al procedimento R.G. 11455/2021 di fronte al Tribunale di Milano;
-circa la novità del brevetto CP_6:
.parte attrice sostiene che CP_6 sia privo di novità in vista del documento WO 2017168324 A1; questo documento ha una data di priorità anteriore e una data di pubblicazione posteriore rispetto alla data di priorità di CP_6; questo documento appartiene pertanto allo stato della tecnica secondo l’articolo 46, comma 3, CPI ed è dunque opponibile nei confronti di CP_6 per la valutazione della novità ma non per la valutazione dell’attività inventiva;
.a parere dello scrivente WO 2017/168324 non descrive l’impiego di almeno un sensore di forza accoppiato a una superficie di appoggio per determinare una forza esercitata dal pezzo a forma di barra sulla superficie di appoggio in una direzione essenzialmente trasversale alla direzione dell’accelerazione di gravità; WO 2017/168324 descrive l’utilizzo di sensori di torsione applicati agli snodi, per misurarne la sollecitazione di torsione attorno agli assi 32, 34;
.lo scrivente ritiene che la sollecitazione di torsione agente sugli assi 32, 34 non sia una forza esercitata dal pezzo a forma di barra sulla superficie di appoggio in una direzione essenzialmente trasversale alla direzione dell’accelerazione di gravità;
.dunque, a parere dello scrivente (come già la Divisione di opposizione e l’ing. Per_1 le rivendicazioni indipendenti 1 e 11 sono dotate del requisito della novità nei confronti del documento WO 2017168324
-circa l’attività inventiva di CP_6
.parte attrice sostiene che il documento WO 2017168324, tenendo presente che almeno l’oggetto delle rivendicazioni indipendenti di CP_6 non godrebbe di una valida rivendicazione della priorità, sarebbe rilevante nei confronti di CP_6 anche per quanto riguarda il requisito dell’attività inventiva; parte attrice inoltre fa riferimento ad una dichiarazione del Sig. Persona_3 datata 21 luglio 2022, nella quale si afferma che in occasione della fiera Wire tenutasi a Düsseldorf (Germania) tra il 4 e l’8 aprile 2016, vi sarebbe stata attività di divulgazione di tecnologia relativa ad una soluzione per il supporto di barre allungate in macchine di misurazione di rettilineità, tecnologia che ha formato oggetto delle domande di brevetto italiano N. 102016/33750 e N. 102016/33753 successivamente estese come domande di brevetto internazionale pubblicate con n. WO 2017168324 A1 e n. WO2017168326 A1;
.secondo parte attrice le rivendicazioni di CP_6 mancherebbero di attività inventiva anche in vista delle seguenti combinazioni di tecnica nota:
.divulgazione in fiera Wire 2016 e EP 0 935 120 A2;
.divulgazione in fiera Wire 2016 e JP 2005 300298:
.che, però, il CTU ritiene che CP_6 rivendichi validamente la data di priorità del 02/04/2016; che, di conseguenza, il documento WO 2017168324 è opponibile nei confronti di CP_6 per la valutazione della novità ma non per la valutazione dell’attività inventiva (Art. 46, comma 3, CPI); che, inoltre, la divulgazione durante la fiera Wire 2016 del 4-8 aprile 2016 cui fa riferimento la dichiarazione del Sig. Persona_3 non fa parte dello stato della tecnica nei confronti di CP_6 essendo avvenuta successivamente alla data di priorità del 02/04/2016;
-circa la denunciata contraffazione:
. per quanto riguarda i dispositivi ReLine 3D Plus e Q-Line FG, l’Ing. CP_7 della Pt_1 in sede di descrizione giudiziaria, ha affermato che il dispositivo ReLine 3D Plus e la versione denominata “FG” del dispositivo Q-Line, rilevano otticamente la forma del pezzo tramite un apparato di rilevazione ottica, mentre per il supporto della barra utilizzano un sistema di tipo esclusivamente meccanico atto a compensare la gravità e la flessione del pezzo a forma di barra tramite il basculamento dei supporti; invece, la versione “GC” del dispositivo Q-Line, sempre secondo quanto dichiarato dall’Ing. CP_7 rileva, oltre alla geometria misurata otticamente, anche la forza esercitata dal pezzo a forma di barra da misurare sui supporti del dispositivo, tramite celle di carico;
.parte convenuta contesta queste dichiarazioni e sostiene è anche stata commercializzata una versione ReLine 3D Plus dotata non di supporti basculanti, bensì di rulli di appoggio per la barra; secondo parte convenuta, il sistema di rulli di appoggio sarebbe del tutto incompatibile con il sistema basculante che equipaggiava il precedente modello e invece appare del tutto corrispondente a quanto descritto nella domanda di brevetto internazionale WO2019/082134 di titolarità Pt_1 che menziona la presenza di sensori di forza;
.il CTU riconosce che la domanda di brevetto WO 2019/082134 descrive dei supporti analoghi a quelli del dispositivo ReLine 3D Plus; il fatto che la domanda WO 2019/082134 A1 descriva supporti dotati di celle di carico laterali costituisce un indizio del fatto che i supporti del dispositivo ReLine 3D Plus, essendo analoghi a quelli descritti nella domanda WO 2019/082134, siano anch’essi dotati di sensori di forza;
.tuttavia, non ci sono prove che confermino che i supporti descritti nella domanda WO 2019/082134 A1 della Pt_1 siano effettivamente stati impiegati nei dispositivi ReLine 3D Plus della Pt_1 posti in commercio dopo il 2018, e che dunque tali dispositivi interferiscano con l’ambito di protezione della porzione italiana di CP_6;
.il CTU rileva poi che, invece, a suo parere, il dispositivo Q-Line GC riproduce in modo letterale tutte le caratteristiche della rivendicazione 1 di EP’320 e interferisce pertanto con l’ambito di protezione della porzione italiana di EP3225320; che il dispositivo Q-Line GC quando è in funzione riproduce anche le caratteristiche della rivendicazione indipendente di procedimento 11; tali conclusioni riguardo all’interferenza dei dispositivi Q-Tech con EP’320 sono del tutto analoghe alle conclusioni dell’Ing. Per_1 nella CTU relativa al procedimento R.G. 11455/2021 di fronte al Tribunale di Milano.
Le stesse conclusioni sono ribadite dal CTU nella replica ai commenti delle parti, depositata il 26/9/2023.
Nel corso dell’istruttoria, all’udienza del 20/12/2023, il giudice, a seguito di istanza di Contro e nel contraddittorio delle parti, procede nel seguente modo:
- Il giudice discute con le parti la questione dell’approfondimento istruttorio dell’esame tecnico dei prodotti ReLine 3D Plus e Q-Line FG, riguardo ai quali il CTU ha affermato che “non vi sono prove che dimostrino che tali dispositivi interferiscano con il brevetto”.
La questione riguarda:
-l’acquisizione di eventuale ulteriore documentazione tecnica su questi dispositivi;
-l’esame diretto di tali dispositivi;
-l’esame del modello TQC, della dichiarazione Tes_1 Neth e della eventuale documentazione tecnica relativa, allo scopo di meglio chiarire la struttura tecnica dei modelli precedenti (indipendentemente dal fatto che poi le parti e il Collegio considerino tale nodello oggetto di domanda ammissibile di accertamento di contraffazione o meno).
A questo punto il giudice:
-Ordina alla parte attrice Parte_1 di esibire al CTU la documentazione tecnica relativa ai modelli Re Line 3D Plus e Q-Line FG o, in alternativa, di permettere al medesimo di esaminare fisicamente tali dispositivi;
-Ordina alla parte attrice di esibire al CTU la documentazione tecnica relativa al dispositivo inserito nel modello TQC o, in alternativa di esaminare fisicamente tale dispositivo.
Dispone che l’esame della documentazione tecnica e dei dispositivi sopra indicati sia condotto dal CTU alla presenza dei CTP ed eventualmente dei difensori, tutti tenuti al segreto tecnico nei confronti delle parti.
Successivamente, a seguito di istanza di 9/5/2024, così provvede: Contr, che lamenta il mancato completo adempimento
-Visto il verbale dell’udienza 20/12/2023...
-Vista l’istanza 19/4/2024 della convenuta Contr che lamenta il mancato completo adempimento all’ordine di esibizione da parte della Parte_1 e l’intenzione del CTU di aderire acriticamente alle informazioni fornite dai CTP di parte attrice;
-Rilevato che, al di là della fondatezza delle lamentele della parte convenuta, appare che la sola produzione di documentazione non sia idonea a fugare dubbi circa la situazione oggettiva dell’interferenza o meno dei modelli attorei con il brevetto avversario,
-Invita parte attrice a permettere al CTU di esaminare fisicamente i dispositivi di cui a tutti i modelli contestati, invitando il CTU a riprogrammare i tempi delle operazioni peritali, tenendo conto del tempo necessario per il suddetto esame fisico (da condurre alla presenza solo dei CTP e dei difensori, tutti tenuti al segreto tecnico nei confronti delle parti) e assegnando alle parti successivo termine per breve memoria di commento (prima del deposito del supplemento di relazione).
Infine, il CTU, con la relazione supplementare del 28/6/2024, rileva:
-Il 10/04/2024 parte attrice ha inviato al sottoscritto CTU alcuni file di render tridimensionali relativi ai dispositivi Reline 3D Plus, Q-Line FG, Reline 3D, ed ai sistemi di supporto denominati R3DP-SCS e Q-bend.
-Vista l’ordinanza del 09/05/2024, il sottoscritto CTU ha dunque fissato un sopralluogo per l’esame fisico dei dispositivi di cui ai modelli contestati.
Il sopralluogo si è svolto il giorno 30/05/2024 presso la sede dell’attrice Parte_1 alla presenza dei CTP, dei legali delle parti, del legale rappresentante e di personale della Pt_1.
In occasione di tale sopralluogo è stato redatto un verbale di cui si allega copia (Allegato 3).
Durante il sopralluogo il sottoscritto CTU ha esposto ai presenti che lo scopo dell’ispezione era di accertare se i dispositivi ReLine 3D Plus, Q-Line FG e il dispositivo inserito nel modello TQC abbiano le caratteristiche delle rivendicazioni indipendenti del brevetto europeo EP 3225320.
Parte attrice ha ribadito quanto già indicato in una comunicazione del 20/05/2024, cioè che i modelli ReLine 3D Plus e Q-Line FG non si sarebbero potuti ispezionare poiché non attualmente in produzione e che questi modelli corrispondono alla documentazione fornita al CTU in data 10 aprile 2024 e commentata con memoria tecnica datata 30 aprile 2024. Riguardo al dispositivo inserito nel modello TQC, parte attrice ha dichiarato che Parte_1 non è in grado di stabilire quale dei suoi dispositivi sia installato nel modello TQC realizzato da soggetti terzi.
Il CT di parte convenuta, Ing. Per_4 ha chiesto se in azienda esista altra documentazione tecnica relativa ai modelli ReLine 3D Plus e Q-Line FG aggiuntiva rispetto a quella prodotta in data 10 aprile 2024. Il legale di parte attrice, Avv. Del Corno, ha risposto che parte attrice ha ottemperato all’ordine di esibizione con la documentazione fornita in data 10 aprile 2024.
Preso atto delle dichiarazioni di parte attrice, il CTU ha informato le parti che parte attrice non ha ottemperato all’invito del Giudice di cui all’ordinanza del 09/05/2024 di permettere al CTU di esaminare fisicamente i dispositivi di cui ai modelli ReLine 3D Plus e Q-Line FG.
Parte_1 ha dato la propria disponibilità all’esame di dispositivi denominati “Q-Bend” e “R3DP-SCS”, che sono stati ispezionati.
Dopo di ciò, il CTU ha così concluso:
-Lo scrivente non ha potuto accertare se i dispositivi di parte attrice denominati ReLine 3D Plus, Q-Line FG e il dispositivo inserito nel modello TQC corrispondano alla documentazione prodotta da parte attrice in data 10/04/2024.
Se si ritiene che i dispositivi Q-Tech in discussione corrispondono effettivamente alla documentazione prodotta da parte attrice, si conclude che i dispositivi di Q-Tech in discussione non interferiscono con il brevetto europeo EP 3225320.
Se invece si ritiene che la documentazione prodotta da parte attrice non corrisponde ai dispositivi Q-Tech in discussione, si conclude che da questo supplemento di CTU non sono emerse prove che dimostrino che i dispositivi Pt_1 in discussione interferiscano con il brevetto europeo EP 3225320.
I dispositivi di Q-Tech denominati “Q-Bend” e “R3DP-SCS” ispezionati durante il sopralluogo presso Pt_1 del 30/05/2024 non interferiscono con il brevetto europeo EP 3225320.
In definitiva, quindi, le operazioni peritali avevano portato, alla fine del giugno 2024, alla conclusione che:
-il brevetto EP’320 è valido;
-il dispositivo Q-Line GC interferisce letteralmente con le rivendicazioni di CP_6 -non vi è prova certa che anche i dispositivi ReLine 3D Plus e Q-Line FG (di ultima “generazione”) e il dispositivo inserito nel modello TQC interferiscano con il brevetto di Contro, essendo mancato l’esame diretto di tali dispositivi.
3) La revoca del brevetto EP’320
All’udienza del 23/7/2024 le parti hanno reso noto che, a seguito dell’appello che la Pt_1 aveva proposto nei confronti della decisione della Divisione di opposizione dell Contr, la Commissione di Ricorso dell’EPO ha, all’udienza tenutasi il 4/7/2024, revocato il brevetto EP’320 (decisione poi depositata il 10/9/2024, doc. 40 di parte Q-Tech), per difetto di novità, con riferimento alla domanda di brevetto internazionale n. WO 2017/168324 A1.
La convenuta Contro:
- dopo aver sostenuto l’erroneità della decisione del Board of Appeal dell’EPO, perché il documento WO 2017/168324 A1 ha datazione successiva alla priorità di EP’320 (del 2/4/2016) e IT 750 (costituente priorità di WO 2017/16824 A1) non conteneva quanto ritenuto anticipare EP’320, cioè non conteneva un passo, presente invece in WO 017/168324 A1 (passo che, peraltro, come evidenziato dai CTU Per_1 e Persona_2 non comportava comunque l’anticipazione della soluzione del brevetto EP’320), e aver affermato di intendere presentare richiesta di revisione della decisione del BoA ex art. 112a EPC2000,
-riferisce di aver richiesto, ai sensi dell’art. 58.2 CPI, e conformemente all’art. 135 EPC2000, la trasformazione del brevetto EP’320 in brevetto per modello di utilità, sostenendo che presenti i requisiti di validità, considerate le CTU Per_1 e Persona_2 e il fatto che la decisione del Board of Appeal non influisce sullo stesso,
-e chiede che le domande di Contro (di accertamento della contraffazione e condanna al risarcimento dei danni) siano accolte con riferimento al modello di utilità (per cui è stata proposta domanda), non trattandosi di nuovo e diverso titolo, perché l’istanza di trasformazione ex art. 58.2 CPI non determina il mutamento del titolo fatto valere nel presente giudizio (come non si ha alcuna mutatio libelli nel passaggio da domanda di brevetto a brevetto concesso e come nel caso disposto dall’art. 76 CPI, che prevede la conversione di un brevetto nullo in altro titolo e che la domanda possa essere proposta in ogni fase e grado del giudizio).
L’attrice Parte_1 chiede, invece:
-che, preso atto della revoca del brevetto europeo EP’320, sia dichiarata la cessazione della materia del contendere rispetto sia alle domande proposte dall’attrice Pt_1 [...] di nullità della frazione italiana del brevetto europeo n. 3.225.320 di titolarità della convenuta e di accertamento della non contraffazione di detta frazione da parte del sistema di misurazione denominato “Q-Line GC” prodotto e commercializzato dall’attrice Parte_1 sia alla domanda riconvenzionale proposta dalla convenuta Controparte_1 di declaratoria di contraffazione di detta frazione italiana da parte dei dispositivi di misurazione denominati “Q-Line GC”, “ReLine 3D Plus” e “Q-Line FG”, prodotti e commercializzati dall’attrice Parte_1 ed alle altre conseguenti domande;
-che, per l’effetto, sia revocata l’ordinanza n. 11412/21 in data 28 dicembre 2021 del Tribunale di Milano, resa nel procedimento cautelare,
-e che la Contro sia condannata al risarcimento dei danni determinati dall’instaurazione del procedimento cautelare avanti il Tribunale di Milano e dall’ottenimento dei richiesti provvedimenti, pronunciando con sentenza ai sensi dell’articolo 278 c.p.c. la condanna generica, imponendo il pagamento di una provvisionale liquidata in via e disponendo con ordinanza la prosecuzione del giudizio per la liquidazione definitiva;
-che, in via subordinata, sia dichiarata l’inammissibilità dell’eventuale domanda di conversione ai sensi dell’articolo 76.3 c.p.i. in modello di utilità che dovesse essere proposta dalla convenuta Contro e di ogni domanda fondata sul modello di utilità che dovesse essere concesso dall’Controparte_3 a seguito dell’istanza di trasformazione presentata, ai sensi dell’articolo 58.3 c.p.i., eccependosi, in ulteriore subordine, la nullità del modello di utilità che dovesse essere concesso e comunque che i modelli di Pt_1 non costituiscono contraffazione del modello di utilità suddetto.
4) Le conseguenze della revoca del brevetto EP’320
Premesso che la richiesta di revisione della decisione del BoA non ha effetto sospensivo (art. 112a.3 EPC2000), si osserva, in primo luogo che la convenuta Contro non ha proposto domanda di conversione del brevetto nullo in altro brevetto, ex art. 76 co. 3 CPI.
-Art. 76 comma 3 CPI:
.”Il brevetto nullo può produrre gli effetti di un diverso brevetto del quale contenga i requisiti di validità e che sarebbe stato voluto dal richiedente, qualora questi ne avesse conosciuto la nullità. La domanda di conversione può essere proposta in ogni stato e grado del giudizio. La sentenza che accerta i requisiti per la validità del diverso brevetto dispone la conversione del brevetto nullo....”.
E, infatti, Contro non avrebbe potuto presentare una domanda di conversione in tal senso, perché non ricorre nel presente caso la corrispondente fattispecie, cioè quella dell’accertamento, nel corso del giudizio, della nullità del brevetto e dell’emissione di decisione che dichiara la nullità del titolo originariamente azionato e ne dispone la conversione in altro diritto.
La domanda presentata dalla Contro a seguito della revoca del brevetto EPì320 ad opera del BoA è quella di trasformazione ex art. 58, co. 3, CPI:
.”È consentita la trasformazione in domanda nazionale per modello di utilità di una domanda di brevetto europeo respinta, ritirata o considerata ritirata o del brevetto europeo anche con effetto unitario revocato il cui oggetto abbia i requisiti di brevettabilità, previsti dalla legislazione italiana per i modelli di utilità”.
A questo punto si osserva, da un lato, che, considerata la revoca del brevetto unitario (che ha effetti ex tunc), va dichiarata la cessazione della materia del contendere rispetto sia alle domande proposte dall’attrice Parte_1 di nullità della frazione italiana del brevetto europeo n. 3.225.320 di titolarità della convenuta e di accertamento della non contraffazione di detta frazione da parte del sistema di misurazione denominato “Q-Line GC” prodotto e commercializzato dall’attrice Pt_1 [...] sia alla domanda riconvenzionale proposta dalla convenuta Controparte_1 [...] di declaratoria di contraffazione di detta frazione italiana da parte dei dispositivi di misurazione denominati “Q-Line GC”, “ReLine 3D Plus” e “Q-Line FG”, prodotti e commercializzati dall’attrice Parte_1 ed alle altre conseguenti domande.
Dall’altro lato, va dichiarata l’inammissibilità delle domande della convenuta Contro di accertamento della contraffazione, risarcimento danni e pronunce conseguenti, riferite al nuovo titolo fatto valere in giudizio, costituito dal modello di utilità relativamente al quale la Contro ha proposto domanda di trasformazione ex art. 58 co. 3 CPI.
Si osserva, infatti, che le domande di Contro basate su nuovo titolo di proprietà industriale (modello di utilità per cui è stata formulata richiesta ex art. 58) vanno ritenute nuove e inammissibili, trattandosi di evidente mutatio libelli, poiché si tratta di titolo diverso da quello originariamente fatto valere, per caratteristiche, funzione, durata e requisiti di validità.
Nè può ritenersi che si verta in ipotesi simile a quella della successione tra domanda di brevetto e definitiva concessione dello stesso, perché si tratterebbe, in questo diverso caso, di far valere sempre lo stesso titolo azionato in giudizio (anche se eventualmente limitato in sede di concessione).
Ugualmente, la fattispecie è diversa da quella della limitazione del brevetto in corso di causa, ex art. 79 CPI, perché anche in questo diverso caso, si tratta del medesimo titolo fatto valere (e che deve rimanere nei limiti del contenuto della domanda originaria).
Infine, la trasformazione del brevetto in modello di utilità ex art. 58 co. 3 CPI è altresì diversa da quella della conversione del brevetto nullo (come sopra visto), per differenze processuali e sostanziali, per cui non può essere applicato all’istituto della trasformazione del brevetto il regime di eccezione alla regola delle preclusioni processuali, contenuto nell’art.76 CPI.
In tal senso si è espressa di recente, con chiarezza, la Corte di Cassazione, sez. I, 11/12/2024 n. 31995: “In tema di controversie sulla validità e contraffazione del brevetto, la trasformazione, a norma dell’art. 58, comma 2, c.p.i., in modello di utilità, del brevetto europeo che sia stato revocato, costituisce fattispecie diversa dalla conversione giudiziale disciplinata dalla norma di cui all’art. 76, comma 3, c.p.i. e, pertanto, non giustifica, a seguito del maturarsi nel giudizio delle preclusioni assertive, alcuna immutazione del thema decidendum della causa”.
Argomenta la Corte:
.”2. - Con l’ordinanza interlocutoria sopra menzionata questa Corte ha rilevato che nelle rispettive memorie ex art. 380 - bis.1 le parti avevano dato atto che i brevetti europei (Omissis) e (Omissis) erano stati revocati dal Board of Appeal dell Cont nella pendenza del presente giudizio di legittimità e che la seconda privativa era stata convertita in modello di utilità; ha reputato il Collegio che a fronte di tale nuova situazione si imponesse il rinvio del ricorso per valutare il rilievo che poteva assumere in questa sede l’intervenuto mutamento di uno dei titoli di proprietà industriale oggetto del giudizio...
3. - Nelle more l’Enlarged Board od Appeal ha reso due pronunce con cui le impugnazioni proposte avverso le decisioni di revoca dei brevetti (Omissis) ed (Omissis) sono state disattese.
Questi ultimi sono gli unici titoli di privativa di cui oggi si controverta...
4. - Va qui rammentato quali siano gli effetti derivanti della definitiva statuizione circa la revoca del brevetto europeo. A norma dell’art. 68 c.b.e., in caso di revoca della privativa, la domanda e il brevetto che ne è risultato sono considerati fin dall’inizio privi degli effetti di cui agli articoli 64 e 67: la revoca dei titoli di proprietà industriale ha avuto quindi effetto retroattivo...
6. - Il venir meno, con effetto ex tunc, di (Omissis) e di (Omissis) è destinato a riflettersi sulla sorte del presente giudizio, avente ad oggetto l’impugnazione della sentenza di appello che si è occupata della validità e della contraffazione delle due privative.
Deve tuttavia prendersi in considerazione il fatto che per (Omissis) è intervenuta, in sede amministrativa, la conversione prevista dall’art. 58, comma 2, c.p.i.
7. - Quest’ultima norma dispone: “È consentita la trasformazione in domanda nazionale per modello di utilità di una domanda di brevetto europeo respinta, ritirata o considerata ritirata o del brevetto europeo anche con effetto unitario revocato il cui oggetto abbia i requisiti di brevettabilità, previsti dalla legislazione italiana per i modelli di utilità”.
La fattispecie di cui qui si discorre è distinta da quella presa in considerazione dall’art. 76, comma 3, c.p.i., secondo cui la domanda di conversione può essere proposta in ogni stato e grado del giudizio; detta disposizione si riferisce, come è evidente, alla conversione richiesta in sede giudiziale, mentre nel caso in esame viene in questione la conversione della frazione italiana del brevetto europeo che è stata promossa avanti all’UIBM, e quindi in sede amministrativa.
8. - La conversione giudiziale introduce una deroga ai principi che regolano la formazione del thema decidendum proprio in quanto può essere domandata in ogni stato e grado del giudizio: espressione, questa, che, secondo la giurisprudenza di questa Corte, non implica, peraltro, che la conversione stessa possa essere richiesta in sede di legittimità, dal momento che non è possibile ivi rivalutare le risultanze istruttorie acquisite nella fase di merito per accertare se sulla base delle stesse il trovato sia suscettibile di protezione sotto il profilo del modello di utilità (così Cass. 28 aprile 2010, n. 10218, in motivazione); e il rilievo appare tanto più convincente ove si consideri che lo scrutinio della domanda di conversione giudiziale esige un accertamento di fatto, quanto alla volontà del richiedente di ottenere un brevetto diverso da quello nullo qualora il detto soggetto avesse avuto conoscenza della nullità incidente sull’originario titolo di privativa (cfr. art. 76, comma 3, cit., c.p.i.). In termini generali, la deroga di cui si è detto implica un sicuro ampliamento della materia del decidere: per effetto della domanda di conversione il giudice deve infatti accertare i requisiti per la validità del diverso brevetto, come è presupposto dall’art. 76, comma 3, e quindi, nel caso di conversione del brevetto di invenzione in modello di utilità, i requisiti di brevettibilità di quest’ultimo in relazione al fatto che il trovato conferisca particolare efficacia o comodità di applicazione o di impiego a macchine, strumenti, utensili o oggetti (art. 82, comma 1, c.p.i.); alla conversione del brevetto in modello di utilità seguirà, poi, come conseguenza necessitata dal nuovo scenario processuale, che la verifica della contraffazione di cui abbiano dibattuto le parti nel corso del giudizio di merito vada condotta avendo riguardo al modello di utilità in cui è stato convertito il brevetto di invenzione, e non avendo riguardo a quest’ultimo.
Nella diversa fattispecie prevista dall’art. 58, comma 2, c.p.i. il legislatore non ha contemplato eccezioni alle norme del codice di rito che regolano le preclusioni processuali, onde un ampliamento del thema decidendum nel senso appena indicato non può aver luogo: tanto meno in sede di legittimità, visto che la stessa conversione giudiziale trova ostacolo, come si è detto, nella peculiarità propria del giudizio avanti alla Corte di cassazione.
9. - In definitiva, tornando alla specificità della presente impugnazione, ciò che rileva è che il giudizio originariamente introdotto avanti al Tribunale di Milano e oggi pendente innanzi a questa Corte di legittimità concerna specifici titoli di privativa: titoli che hanno definito i contorni della controversia, dando una precisa identità al petitum e alla causa petendi della stessa. Anche gli accertamenti di cui questa Corte è stata investita in ragione dell’impugnazione della sentenza delle Corte di appello di Milano restano delimitati da quei titoli e non possono essere surrogati da scrutini aventi un diverso oggetto, che investano la validità e la contraffazione del modello di utilità conseguito medio tempore....
Va però ribadito che il titolo di proprietà industriale che oggi viene in questione è diverso da quello originario, definitivamente venuto meno, e che, in conseguenza di ciò, anche la domanda risarcitoria che su di esso si fonda deve considerarsi nuova rispetto a quella inizialmente spiegata. Va aggiunto, per mera completezza espositiva, che, contrariamente a quanto dedotto nell’indicata memoria, l’attuata conversione renderebbe per certo proponibili questioni nuove rispetto a quella, già introdotta con riguardo a (Omissis), della predivulgazione del trovato. Proprio in quanto il modello di utilità di cui oggi si lamenta la contraffazione è altra cosa rispetto al brevetto di invenzione di cui si è discusso avanti al Tribunale e alla Corte di appello, una ipotetica ammissibilità del mutamento, nei termini appena indicati, della domanda iniziale non potrebbe di certo privare la convenuta in contraffazione del potere di eccepire i profili di nullità che riguardino il nuovo titolo di privativa: primo tra tutti quello circa la brevettabilità del trovato come modello di utilità. Una diversa soluzione genererebbe una ingiustificata menomazione del diritto di difesa di quella parte”.
Con chiarezza, pertanto, la Corte, premesso che neanche la conversione ex art. 76 CPI potrebbe essere richiesta in sede di legittimità, afferma che il regime derogatorio rispetto alle altre preclusioni processuali contenuto nell’art. 76 CPI non è applicabile alla distinta ipotesi della trasformazione ex art. 58 co. 3 CPI
4.1) Per quanto riguarda le ulteriori domande di Pt_1 (revoca dell’ordinanza cautelare milanese e condanna di Contro al risarcimento dei danni), da un lato va accolta la prima, di revoca dell’ordinanza cautelare n. 11412/21 del 28/12/2021 del Tribunale di Milano, Sezione Specializzata in materia d’Impresa, resa nel procedimento cautelare di cui al numero di ruolo generale 111455/2021.
Si osserva, infatti, che il presente procedimento costituisce la fase di merito rispetto a quella cautelare svoltasi davanti al Controparte_8, corrispondendo l’inibitoria disposta da tale Tribunale alle domande di accertamento della contraffazione e provvedimenti conseguenti, fatte valere nel presente procedimento dalla Contro.
E la revoca del brevetto EP’320, sul quale si basava la suddetta ordinanza, comporta appunto la revoca della stessa.
Viene respinta, invece, la domanda della Pt_1 di condanna della Contro al risarcimento dei danni determinati dall’instaurazione del suddetto procedimento cautelare e dall’ottenimento dei richiesti provvedimenti.
Da un lato, infatti, si osserva che non è dimostrato l’elemento soggettivo del dolo o colpa della Contro nell’azionare un brevetto che all’epoca era stato riconosciuto come valido sia dalla Divisione di opposizione dell Contr, sia dal Tribunale di Milano.
Dall’altro lato si nota che, in ogni caso, l’attrice non ha dimostrato l’esistenza del danno considerato:
-che la stessa Pt_1 riferisce che il dispositivo Q-Line GC (oggetto dell’inibitoria cautelare) era in fase sperimentale, che è stato bloccato sul nascere dalla citata ordinanza e che la Pt_1 aveva messo in produzione altri modelli;
-che, dunque, non risulta essere stata bloccata una produzione di dispositivi in atto e che non è dimostrato che la sostituzione, da parte di Pt_1 del dispositivo sperimentale Q-Line GC con altri modelli e la messa in produzione e distribuzione di questi ultimi abbiano comportato per Q-Tech minori utili e perdita di opportunità rispetto alla situazione che si sarebbe verificata se fosse stato possibile mettere in produzione Q-Line GC.
5) Per quanto riguarda le spese processuali, del presente giudizio e della fase cautelare, si ritiene che la parziale reciproca soccombenza delle parti e la difficoltà della materia del contendere, che ha portato a decisioni contrastanti dei vari organi giudicanti, rendano equo disporre la compensazione integrale di dette spese.
Le spese di CTU vengono poste a carico di entrambe le parti.
P.Q.M.
Il Tribunale, definitivamente pronunciando, ogni diversa istanza ed eccezione disattesa o assorbita, così dispone:
-Dichiara la cessazione della materia del contendere rispetto sia alle domande proposte dall’attrice Parte_1 di nullità della frazione italiana del brevetto europeo n. 3.225.320 di titolarità della convenuta e di accertamento della non contraffazione di detta frazione da parte del sistema di misurazione denominato “Q-Line GC” prodotto e commercializzato dall’attrice Parte_1 sia alla domanda riconvenzionale proposta dalla convenuta Controparte_1 di declaratoria di contraffazione di detta frazione italiana da parte dei dispositivi di misurazione denominati “Q-Line GC”, “ReLine 3D Plus” e “Q-Line FG”, prodotti e commercializzati dall’attrice Parte_1 ed alle altre conseguenti domande;
-Dichiara l’inammissibilità delle domande della convenuta Contro di accertamento della contraffazione, risarcimento danni e pronunce conseguenti, riferite al nuovo titolo fatto valere in giudizio, costituito dal modello di utilità relativamente al quale la Contro ha proposto domanda di trasformazione ex art. 58 co. 3 CPI;
-Dispone la revoca dell’ordinanza cautelare n. 11412/21 del 28/12/2021 del Tribunale di Milano, Sezione Specializzata in materia d’Impresa, resa nel procedimento cautelare di cui al numero di ruolo generale 111455/2021;
-Respinge le domande della Pt_1 di condanna della convenuta al risarcimento dei danni conseguenti alla revoca della suddetta ordinanza cautelare,
-Dichiara integralmente compensate tra le parti le spese processuali del presente giudizio e della fase cautelare svoltasi davanti al Tribunale di Milano;
-Pone definitivamente a carico di entrambe le parti (per metà a carico dell’attrice e per metà a carico della convenuta) le spese del CTU del procedimento cautelare e quelle del CTU del presente procedimento, come liquidate dal giudice nell’ambito delle due procedure.
Manda alla cancelleria per la comunicazione all’UIBM ex art. 122 co. 8 Cpi.
Così deciso nella Camera di Consiglio della sezione 1° civile, specializzata in materia di impresa, del Tribunale di Torino in data 4/4/2025.
Il Presidente estensore
Silvia Vitrò


